Struktur & Bewaffnung
|
Rohrwaffen
| Raketen | Raketen-Komplexe |
Radarstationen |
Standorte |
Register |
Quellen
Die Truppenluftabwehr der NVA
Fla-Raketen-Komplex 2K11 "KRUG"
NATO-Code: SA-4 "GANEF"
|
1S12
|
1S32
|
2P24
|
3M8
|
| |
Foto 1: Raketenleitstation 1S32 (links) und Raketenstartrampe 2P24
(rechts) des FRK 2K11 [MTH-TLA]
|
|
|
|
Geschichte
|
|
Foto 2: Aufklärungs- und Zielzuweisungsstation 1S12 (beim in Stellung gehen)
[MTH-TLA]
|
|
Foto 3: 1S12 und PRW-16 des FRR-5 , 1989 Aschulug (F.
Karsubke)
 Foto
4: RLS 1S32 (Wassilii/ Gurinowitsch, Minsk2001
Fla-Raketenkomplexe)
 Foto
5:Startrampe 2P24 (Technikus 9-88) |
| |
Der FRK 2K11 war der erste sowjetische mobile FRK. In den meißten
Darstellungen wird als Entwicklungsbeginn des FRKs der Beschluss des ZK der
KPdSU und des Ministerrates der UdSSR zur Entwicklung eines
Fla-Raketen-Systems "Krug" (dt. "Kreis") vom 15.Februar 1958. benannten.
Allerdings hatten bereits Mitte der 50-er Jahre verschiedene sowjetische
Marschälle Fla- Raketen zur Deckung der Truppen gefordert. Deshalb wurde
1956 ein Forschungsprojekt an das NII-3 zu einem möglichen Einsatz von
Fla-Raketen zur Deckung der Truppen vergeben. Das war faktisch das
Grundkonzept auf dem die ersten Fla-Raketenkomplexe der Truppenluftabwer
basierten. In diesem Konzept war die Basierung der Hauptkomponeneten der FRK
auf Kettenfahrzeugen festgeschrieben. Diese sollten schnell verlegbar sein
und über eigene Navigations- und Vermessungseinrichtungen verfügen.
Entsprechend des Einsatzzweckes (Deckung der Armee oder Deckung der
Division) wurden die Parameter der FRK definiert, die dann in den o.g.
Beschlüssen festgelegt wurden. Das war bei 2K11 - Einsatz gegen Luftziele
bis zu einer Zielgeschwindigkeit bis 600 m/s, Zielhöhe von 3 000 m bis
25 000 m, Zielentfernung bis 45 km. Die Vernichtungswahrscheinlichkeit einer
Rakete für Ziele mit den Parametern des sowjetischen Frontbombers IL-28 in
einer Entfernung von 20 km sollte 0,8 betragen. Flugzeuge mit den Parametern
einer MiG-15 sollten in einem Bereich bis 115 km Entfernung aufgeklärt
werden können. Für diesen FRK musste man sich im NII-20 von dem beim FRK
S-25 und S-75 angewendeten Verfahren der linearen Raumabtastung
verabschieden. Statt dessen wurde das verfahren der Flimmerpeilung
weiterentwickelt und zur Begleitung der Ziele und Raketen kam ein
Monoimpulsverfahren mit innerer Scanierung zur Anwendung, dass in
Kombination mit der Konterreflexantenne deutlich störfester als die
Flimmerpeilung war. Beim Basisfahrzeug griff man auf ein für eine 100 mm Sfl
entwickeltes Fahrwerk zurück, dass später auf bei verschiedenen anderen
Artilleriesysten (152 mm Haubitze 2S3) Verwendung fand. Probleme gab es
zunächst mit den Raketen und der Lenkmethode. Ursprünglich sollte die
Fla-Rakete mit Feststoffstrahltriebwerken ausgerüstet sein und eine
kombinierte Lenkmethode (1. Phase Funkkommandolenkung, 2. Phase halbaktiv
bzw. Selbstlenkung) zur Anwendung kommen. Deshalb gab es eine ganze Reihe
von Versuchsraketen, die von verschiedenen KB`s für diesen FRK entwickelt
wurden. Allerding musste man, um das Projekt erfolgreich abschließen zu
können, schließlich beim Marschtriebwerk auf eine
Flüssigkeitsstrahltriebwerk mit nichtkritischen Treibstoff und bzgl. der
Lenkmethode auf die Funkkommandolenkung zurückgegriffen werden.
Für die Erprobung begann man 1959 in der kasachischen Steppe ein neues Polygon -
das "2.Staatliches Versuchspolygon" (100 x 300 km) einzurichtet. Die
Verwaltungsgebäude und Unterkünfte lagen etwa 10 km entfernt von der Bahnstation
Emba, unter diesem Namen wurde der Schießplatz auch bekannt.
1965 wurde der FRK 2K11 "Krug" in die Bewaffnung der Sowjetarmee
aufgenommen, 1967 folgte die Variante "Krug-A", 1971 "Krug-M" und 1974
"Krug-M1". Zur zentralen Führung wurde der FRK mit dem Automatischen
Feuerleitkomplex 9S44 "Krab" ausgerüstet. In den 80-er Jahren wurde der in
der Sowjetarmee durch den Führungskomplex Poljana ersetzt.
Der FRK wurde ausschließlich in Länder des Warschauer Vertrages exportiert.
Nach dem Auseinanderbrechen der UdSSR gingen eine Reihe von FRK 2K11
in den Bestand der Kaukasusrepubliken und in einige mittelasiatische Länder
über, die dieses System noch nach 2010 im Bestand hatten. In den meißten ex
WV Armeen wurde der FRK bis Mitte der 90-er ausgesondert. In Polen wurde noch
einmal im Jahr 2000 eine umfassendere Modernisierung vorgenommen, die auch
anderen Nutzern angeboten wurde. 2010 war auch in Polen Nutzungsende für
2K11.
Quelle:
Vestnik PVO:
2K11
|
|
| |
|
Einsatz in der NVA
Bei allen Ehrenparaden der NVA seit 1976
wurden 2P24 und 2T6 gezeigt.
anbei einige Paradebilder
|
Foto 6: MTH-FRa

Foto7: archiv@rose

Foto 8 Buch: Armee für Frieden und Sozialismus

Foto 9: Archiv @Rose |
| |
Gut 9 Jahre nach der Einführung bei der Sowjetarmee erhielt auch die TLA der
NVA diesen FRK
Die Einführung in der NVA wurde gründlich vorbereitet. Vorab nahmen viele Offiziere bereits ab
1972 an Lehrgängen an den Ingeniertechnischen Hochschulen in Kiew und
Orenburg teil , in der Offiziershochschule wurde mit einem neuen Lehrprogramm begonnen, darüber hinaus
wurden Verwendungs und Einweisungslehrgänge für 2K11 an der OHS in Lösbau und im FRAZ-40
durchgeführt.
Als erstes erhielt 1973 die OHS in Löbau einen FRK "Krug-A", 1974 folge
das FRAZ 40 in Zingst.
Für die beiden umzurüstenden Flak-Regimenter wurden an den Standorten
Basepohl und Höhenmölsen völlig neue Kasernen mit den erforderlichen Fahrzeughallen sowie
Prüf-, Instandsetzungs und Wartungspunkten errichtet.
Ab 1975 wurde begonnen, aus dem Flak-Regiment 5 in Prenzlau das FRR-5 aufzustellen. Das FRR-5
zeigte bereits zum 1. Mai 1976 zum ersten mal 2K11 auf einer Parade.
Die Ausfstellung des FRR-3 auf Basis des Flak-Regiments 3 begann am 1.11.1979,die Gefechtsbereitschaft
zunächst nur mit einer Abteilung war bis zum 31.10.1980 hergestellt. Aus Gründen der Gefechtsbereitschaft
wurden jeweils parallel die Flakabteilungen 3 und 5 an den alten Standorten Leipzig und Prenzlau
aufgestellt, aber dann 1986 aufgelöst.
Das FRR-3 und FRR-5 gehörten zur Gliederungsebene Armee, die es in Friedenszeiten in der NVA nicht gab
und waren damit dem MB III und MB V direkt unterstellt. Beide Fla-Raketenregimenter führten erfolgreich
mehrere Gefechstschießen ind er Sowjetunion (Aschuluk) durch.
Ende der 80-er Jahre galt 2K11 als veraltet und sollte in der NVA in den
90-ern durch den FRK 9K38 BUK abgelöst werden sollte.
In der NVA gab es 1989 nach Angaben des users "spider" im NVA-Forum :
| Komponente |
Anzahl |
Bemerkung |
| AZS 1S12 |
6* |
je Abteilung 1x1S12 (4), je 1x 1S12 OHS Löbau und FRAZ-40 |
| RLS 1S32 |
15 |
4 x 1S32M, 3 x 1S32M1, 8 x 1S32M2 , davon 12 im FRR-3 und FRR-5, je 1 OHS Löbau und FRAZ-40
sowie 1 Kabinettstation OHS (?) |
| SR 2P24 |
42 |
15 x 2P24M, 27 x 2P24M1 davon 36 im FRR-3 und FRR-5 je 3 OHS Löbau und FRAZ-40 |
| TLF 2T6 |
72 |
Je ein TLF je FRBttr (12) in der OHS und im
FRAZ 40 (2), Rest TeBttr. |
| FRa 3M8 |
387 |
169 Stück in der RTeB-2, 37 Stück in der BFRTB-3, 36 Stück in der BFRTB-5, 144 Stück in den FRR-3 und FRR-5 |
zu 6*: Der Gesamtbestand in der NVA 1989 10x AZS 1S12
Taktische
Nummern: Bsp FRR-5, 2. Abteilung, 6. FR Bttr.: SPW-60PB 5260, 1S32
5261, 1. 2P24 5262, 2. 2P25 5263, 3. 2P24 5264 nach Abgaben des users
"Kokirie" im NVA Forum
|
Zentralisierte Feuerleitung
|
Bild 11:
KBU (l.), Kabelleger auf ZIL 131 (r.), dahinter RBS P-18, daneben (l.o.)
PRW-9 und 1S12 des FRR-5 auf einem Übungsplatz in Basepohl
[s. F.
Karsubke:
nicht mehr verfüg-bare Internet- Seite zum FRR-5]
|
| |
Der FRK kann sowohl mit autonomer als auch zentralisierter Feuerleitung
arbeiten. Dazu ist die AZS 1S12 mit der 9S417 des automatisierten
Feuerleitkomplexes K-1 "Krab" 9S44 gekoppelt. Der K-1 Komplex wurde 1957-60
zur Feuerleitung verschiedener Flieger-Abwehr-Waffen entwickelt und
kann auch im FRR 2K12 oder im FR S-60 eingesetzt werden. Hauptkomponenten
dieses Feuerleikomplexes sind die Feuerleitkabine KBU 9S416 und den
Zielempfangskabine KPZ 9S417 bestehen. Die KBU kann mit verschiedenen
Funkmessaufklärungsstationen gekoppelt werden. Möglich ist die Kopplung mit
der P-10, P-12, P-14, P-18, P-19 und P-40. Die dient dem Empfang und der
Codierung der Zielellageinformationen sowie der Übermittlung an die
Zielempfangskabine KPZ der Abteilungen. Dort wird im Parallaxenrechner der
Stellungsunterschied berechnet und die Zielzuweisung an die AZS 1S12
übermittelt. Nachfolgend eine Darstellung der Informationsübermittlung vom
Gefechtstsand des Regimentes (P-40/KBU) bis zur Startrampe im Fla-Raketenzug
(Schema 2)
 |
|
 |
|
 |
| KPZ |
|
KBU |
|
RBS P-40 |
 |
|
 |
|
 |
|
 |
| AZS 1S12 |
|
RLS 1S32 |
|
2P24 |
|
|
| |
|
 Foto 12: Die FRa
werden in der technischen Batterie vorbereitet und dann mit
Raketentransportern 9T25 in die FRBttr. transportiert und an die 2T6 übergeben.(Foto
aus Armee fürFrieden und Sozialismus) | |
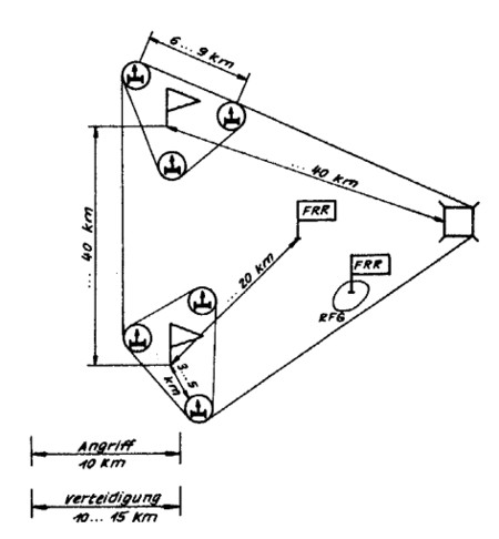
Der Einsatz des FRK 2K11 sollte zur Deckung wesentlicher Deckungsobjekte auf
der Ebene Armee dienen. Dazu sollte das FRR ca. 10 km hinter der vorderen
Linie entfalten. Die Abstände zwischen den eiden Abteilungen betrugen etw 40
km , die zwischen den FR Batterien 6-9 km. (Schema 3:)
 |
Foto
13 Startrampenbedienung
beim Gefechtsexerzieren (Armee für Frieden und Sozialismus) | |
Der Name des KRK Kub = Kreis leitete sich aus der urspünglich vorgesehenen
Gefechtsordnung der FRBttr.ab - RLS im Zentrum und ringsum die 3 2P24 - um
die Erkennbarkeit des FRK zu erschweren, wurden weitere GO entwickelt...
(Schema 4 bis 8)
|
|
| |
|
Gefechtseigenschaften

Foto: 14
2P24 in ausgebauter Stellung (MTH TLA) | |
Die Gefechtsmöglichkeiten eines Fla-Raketenkomplexes ergeben sich aus den
technischen Parametern der Einzelgeräte, den Möglichkeiten zur
Zielaufklärung und- Begleitung den Feuermöglichkeiten, der Vernichtungszone,
und den Manövriermöglichkeiten. Anbei Vernichtungszone des FRK 2K11
(Schema 9/10):

 |
|
| |
| |
Krug-M |
Krug-M1 |
| Ausmaße der Vernichtungszone in km (siehe oben) |
|
| - Entfernung |
9...50 |
6-7...50 |
| - Höhe |
0,25...24,5 |
0,15...24,5 |
| - Kursabweichung |
bis 18 |
bis 20 |
| Wahrscheinlichkeit der Zielvernichtung einer Fla-Rakete |
0,7 |
0,7 |
| max. Geschwindigkeit der bekämpfbaren Ziele, in m/s |
800 |
800...1000 |
| Reaktionszeit, in s |
60 |
60 |
| Fla-Raketen Fluggeschwindigkeit, in m/s |
800...1000 |
800...1000 |
| Gewicht der Fla-Rakete, in kg |
2450 |
2450 |
| Gewicht der Gefechtsladung, in kg |
150 |
150 |
| Anzahl Zielkanäle je FRBttr |
1 |
1 |
| Anzahl Raketenkanäle je FRBttr. |
1 |
1 |
| Zeit zur Entfaltung (Abbau), in min |
5 |
5 |
| Anzahl Fla-Raketen pro Gefechtsfahrzeug |
2 |
2 |
| Jahr der Aufnahme in die Bewaffnung der UdSSR |
1971 |
1974 |
|
|
| |
|
Fahrzeuge und Komponenten
| |
|
|
Gefechtsfahrzeuge und Raketen |
Funkmeß-Aufklärungs- und Zielzuweisungsstation:
NATO-Code:
|
1S12A
"Long Track"
|
 |
Aufklären gegnerischer Luftziele und Übergeben der Zielzuweisung an die RLS 1S32
(DV K 050/3/016)
|
Funkmess-Leitstation:
NATO-Code:
|
1S32M
"Pat Hand"
|
 |
Auffassen und Orten von Luftzielen, Übertragen der Bewegungsparameter des zu
vernichtenden Luftzieles an die Startrampe, Bestimmen des Startmoments der FRa,
Leiten der FRa zum Ziel
(DV K 050/3/016)
|
|
Raketen-Startrampe:
|
2P24M
|
 |
Transportieren, Aufbewahren, Vorstartkontrolle und Start der FRa 3M8 aller
Modifikationen
(DV K 050/3/016)
|
|
Rakete:
|
3M8M
|
 |
Bekämpfen von Flugzeugen und Flügelgeschossen
(DV K 050/3/016]) |
|
Automatischer Feuerleitkomplex K-1 "Krab" 9S44 |
Feuerleitkabine KBU
(LKW Ural 375 KO mit Anhänger TAPZ-755B)
|
|
9S416
| |
|
|
[DV K 050/3/016]
|
|
|
Feuerleitkabine bzw. beweglicher Gefechtsstand des automatisierten
Feuerleitkomplexes K-1 (9S44)
(DV K 050/3/016)
|
Zielempfangskabine KBC
(LKW ZIL 157 K oder ZIL 131)
|
|
9S417
| |
|
|
[DV K 050/3/016]
|
|
|
Zielempfangskabine im Bestand des beweglicher Gefechtsstand des automatisierten
Feuerleitkomplexes K-1 (9S44), Umrechnen der von der Kabine KBU 9S416 erhaltenen
Zielkoordinaten auf die Standorte der Feuerleitgeräte und Leitstationen sowie
Übertragen der Werte an diese Stationen
(DV K 050/3/016) |
Kabellegefahrzeug
(LKW ZIL 131)
|
|
9S441
| |
|
|
[DV K 050/3/016]
|
|
|
Kabellegefahrzeug und EWZ-Transportfahrzeug für den automatisierten
Feuerleitkomplex K-1 (9S44)
(DV K 050/3/016) |
|
Raketen-Transport- und Ladefahrzeuge |
Raketen-Transport- Ladefahrzeug
(LKW Ural 375E mit Spezialkran)
|
|
2T6
| |
 |
|
[DV K
050/3/016]
|
|
|
Selbstbeladen, Transportieren, Aufbewahren, Be- und Entladen der Startrampe mit
montierten und aufgetankten FRa 3M8
(DV K 050/3/016) |
Raketen-Transportfahrzeug
(Sattelschlepper ZIL 157 KW mit Spezial-Auflieger)
|
|
9T25
| |
|
|
[DV K 050/3/016]
|
|
|
Transportieren und Aufbewahren einer FRa 3M8 ohne oder im Container
(DV K 050/3/016) |
Kranfahrzeug
(auf Ural-375D)
|
|
Verladen von Raketen (u.a. im Container), Beladen
der 9T25
|
|
Kontroll-, Prüf- und Raketenvorbereitungsfahrzeuge |
Kontroll- und Prüfstation
(LKW ZIL 131 KO mit Anhänger 9W617)
|
2W9M
| |
|
|
2W9 [DV K 050/3/016] (9W215 ähnl.)
|
|
|
Durchführen der Komplexkontrolle (2W9) bzw. der autonomen Kontrolle der Blöcke
und Baugruppen (9W215) der FRa 3M8
[DV K 050/3/016]
|
Kontroll- und Prüfstation
(LKW ZIL 131 KO mit Anhänger 9W617) |
|
9W215M
| |
 |
|
2W215 [DV K 050/3/016]
|
|
|
|
Lufttankfahrzeug
(LKW ZIL 131)
|
|
9G22M1
| |
 |
|
[DV K 050/3/016]
|
|
|
Aufbewahren und Transportieren von konditionierter Druckluft sowie Luftbetanken
der FRa 3M8 und 3M9
[DV K 050/3/016]
|
Justierturm
(LKW ZIL 131)
|
|
9W21M
| |
 |
|
[DV K 050/3/016]
|
|
|
Überprüfen, Justieren und Abstimmen der
elektrischen Achsen der Antennen der RLS, der optischen Achse des
Fernsehvisiers, der Entfernungsmeßsysteme Ziel und Rakete und der Fehlersignale
[DV K 050/3/016]
|
Kontroll- und Prüfstation
(LKW GAZ 66)
|
|
9W719
| |
 |
|
[DV K 050/3/016]
|
|
|
Technische Überprufung der RLS 1S32 und Training der Bedienung RLS 1S32
(DV K 050/3/016) |
Technologischer Ausrüstungskomplexe
(LKW ZIL 131)
|
MS-1520AM
MS-1520BM
MS-1530M
MS-1525AM
| |
 |
MS-1520AM [DV K 050/3/016] (andere Fahrzeuge ähnlich)
|
|
|
Vorbereiten der FRa 3M8 im technologischen Durchlauf
(DV K 050/3/016) |
Bild und
Quellennachweis
|
|
Photo 1, 2, 6, 11, 14: Militärtechnische Hefte
"Truppenluftabwehr,
Photo 3, 11: Frank Karsubke, nicht mehr
verfügbare Internet Seite zum FRR-5
Photo 4:
Wassilii/ Gurinowitsch, Fla-Raketenkomplexe,
Minsk 2001 Photo 5: "Technikus 9/1988, Photo 7, 9: Roland
Seifert, archiv@rose Photo 8, 12, 13: Autorenkollektiv "Armee für
Frieden und Sozialismus" Photo 10: Ralf Wagner Photos 15
bis 23 angegebene DV der NVA Photo 24: Sammlung Jürgen Liebetrau
Photo 25 bis 30 angegebene DV der NVA Schema 1: Ralf Wagner
Schema 2: Andreas Zerbst Schema 3 bis 10 Auskunftsbuch der
Truppenluftabwehr Quellen:
Kneiphoff/Brix: Die Truppenluftabwehr der NVA, Verlag am Park,
NVA/ Kdo LaSK/ C-TLA Auskunftsbuch der Truppenluftabwehr, 1986 GVS
B597030 Internet-Site Vestnik PVO/ FRK 2K11
Internet-Seite
NVA-Forum, Angaben verschiedener user zum FRK 2K11 |
|
|
© Andreas Zerbst 2003 Überarbeitung: V.:
3.1 Ralf Wagner
2016, 2017
|